
隨著電力系統電壓的不斷提高,電氣設備在工作電壓下的局部放電是使絕緣老化并發展到擊穿的重要原因。局部放電試驗是檢測絕緣內部局部放電的極好的方法。因此,局部放電試驗已被定為高壓設備絕緣試驗的重要項目之一。
一、局部放電的特征
局部放電是指發生在電極之間但并未貫穿電極的放電,它是由于設備絕緣內部存在弱點或生產過程中造成的缺陷,在高電場強度作用下發生重復擊穿和熄滅的現象。它表現為絕緣內氣體的擊穿、小范圍內固體或液體介質的局部擊穿或金屬表面的邊緣及尖角部位場強集中引起局部擊穿放電等。這種放電的能量是很小的,所以它的短時存在并不影響到電氣設備的絕緣強度。但若電氣設備絕緣在運行電壓下不斷出現局部放電,這些微弱的放電將產生累積效應會使絕緣的介電性能逐漸劣化并使局部缺陷擴大,最后導致整個絕緣擊穿。
局部放電是一種復雜的物理過程,除了伴隨著電荷的轉移和電能的損耗之外,還會產生電磁輻射、超聲波、光、熱以及新的生成物等。從電性方面分析,產生放電時,在放電處有電荷交換、有電磁波輻射、有能量損耗。最明顯的是反映到試品施加電壓的兩端,有微弱的脈沖電壓出現。當試品中的氣隙放電時,相當于試品失去電荷q,并使其端電壓突然下降△U,這個一般只有微伏級的電源脈沖疊加在千伏級的外施電壓上。所有局部放電測試設備的工作原理,就是將這種電壓脈沖檢測出來。其中電荷q稱為視在放電量。
二、局部放電的機理
1.局部放電的發生機理
局部放電的發生機理可以用三電容模型來描述

描述局部放電幾個主要參量。
(1)視在放電電荷q。它是指將該電荷瞬時注入試品兩端時,引起試品兩端電壓的瞬時變化量與局部放電本身所引起的電壓瞬時變化量相等的電荷量,視在電荷一般用pC(皮庫)來表示。
(2)局部放電的試驗電壓。它是指在規定的試驗程序中施加的規定電壓,在此電壓下,試品不呈現超過規定量值的局部放電。
(3)局部放電能量。是指因局部放電脈沖所消耗的能量。
(4)局部放電起始電壓Vi。當加于試品上的電壓從未測量到局部放電的較低值逐漸增加時,直至在試驗測試回路中觀察到產生這個放電值的最低電壓。實際上,起始電壓ui是局部放電量值等于或超過某一規定的低值的最低電壓。
(5)局部放電熄滅電壓Ve。當加于試品上的電壓從已測到局部放電的較高值逐漸降低時,直至在試驗測量回路中觀察不到這個放電值的最低電壓。實際上,熄滅電壓ue是局部放電量值等于或小于某一規定值時的最低電壓。
2.局部放電的分類
局部放電是由于電氣設備絕緣內部存在的,在一定外施電壓下發生的局部的和重復的擊穿和熄滅現象。隨著絕緣內部局部放電的發生,將伴隨著如光、熱、噪音、電脈沖、介質損耗的增大和電磁波放射等現象的發生。這種放電可能出現在固體絕緣的空穴中,也可能在液體絕緣的氣泡中,或不同介電特性的絕緣層間,或金屬表面的邊緣尖角部位。所以以放電類型來分,大致可分為絕緣材料內部放電、表面放電及電暈放電。
(1)內部放電
在電氣設備的絕緣系統中,各部位的電場強度往往是不相等的,當局部區域的電場強度達到電介質的擊穿場強時,該區域就會出現放電,但這種放電并沒有貫穿施加電壓的兩導體之間,即整個絕緣系統并沒有擊穿,仍然保持絕緣性能,發生在絕緣體內的稱為內部局部放電。
(2)表面放電
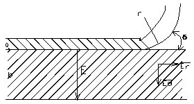
如在電場中介質有一平行于表面的場強分量,當其這個分量達到擊穿場強時,則可能出現表面放電。這種情況可能出現在套管法蘭處、電纜終端部,也可能出現在導體和介質彎角表面處,見圖1-2。內介質與電極間的邊緣處,在r點的電場有一平行于介質表面的分量,當電場足夠強時則產生表面放電。

(3)電暈放電
電暈放電是在電場極不均勻的情況下,導體表面附近的電場強度達到氣體的擊穿場強時所發生的放電。在交流電壓下,當高壓電極存在尖端,電場強度集中時,電暈一般出現在負半周,或當接地電極也有尖端點時,則出現負半周幅值較大,正半周幅值較小的放電。
數字式局部放電檢測系統專門用于變壓器、電機、互感器、電纜、GIS、開關、避雷器等電設備的局部放電測量。其技術性能完成符合IEC-270標準及GB7354標準要求,是電器設備制作廠、發供電運行部門、電力建設安裝調試部門的必備測試設備。